随着2024年进入尾声,广州这座南方大都市正面临一场不容忽视的公共卫生挑战——登革热疫情,尽管登革热通常在夏季高发,但2024年12月的广州却出现了异常活跃的病例报告,这引起了广泛关注,本文将深入分析这一现象的成因、影响,并探讨有效的防控策略,旨在为公众和相关部门提供科学参考。
疫情现状与数据
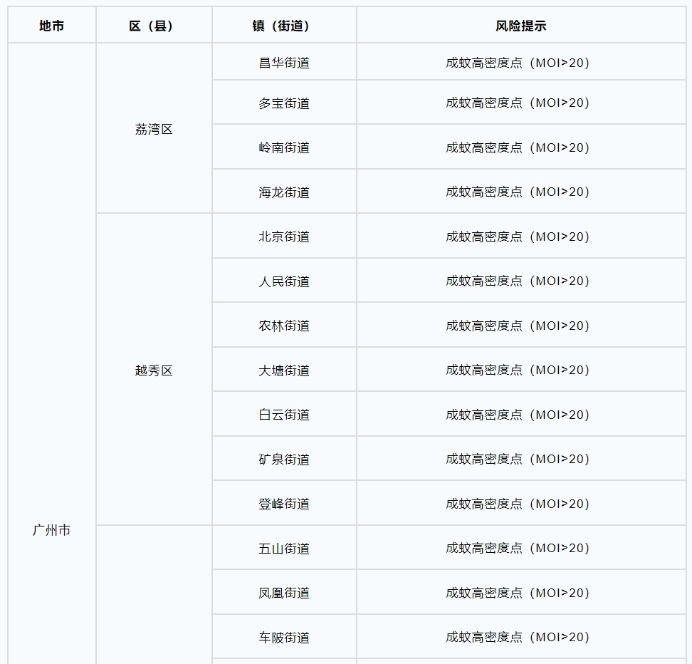
根据广州市卫生健康委员会的最新通报,截至2024年12月中旬,广州已报告登革热病例超过200例,较去年同期增长约30%,病例主要集中在荔湾、越秀等老城区,其中多数为轻症患者,但已有数例重症报告,疫情呈现出点状散发特点,且与往年相比,冬季疫情持续活跃实属罕见,专家指出,这可能与气候变化、蚊媒密度升高及人口流动增加等因素密切相关。
成因分析
登革热是一种由伊蚊(主要是白纹伊蚊)传播的病毒性疾病,其流行与蚊媒生态息息相关,2024年广州冬季登革热疫情的异常活跃,主要归因于以下几点:
-
气候异常:2024年秋季以来,广州气温较常年偏高,平均温度维持在20°C以上,且降雨频繁,这种温暖湿润的环境为伊蚊的孳生提供了理想条件,延长了蚊媒的活动周期,导致病毒传播窗口期扩大。
-
城市环境因素:广州作为超大城市,人口密集,老旧城区存在积水点(如花盆、废弃容器等),容易成为蚊虫孳生地,尽管市政府持续开展灭蚊行动,但部分区域的防控措施落实不到位,蚊媒密度未能有效控制。
-
人口流动与输入性病例:广州是国际交通枢纽,年末人员流动加剧(如商务往来、旅游等),可能引入了输入性病例,加剧了本地传播风险。

-
公众防控意识薄弱:登革热防控需公众积极参与,但部分居民对清除积水、使用防蚊用品等措施重视不足,增加了社区传播概率。
影响与挑战
登革热疫情对广州的社会经济和生活秩序带来多重影响,健康方面,患者可能出现高热、皮疹、关节痛等症状,重症者可导致出血或休克,甚至死亡,医疗系统压力增大,尤其是门诊和发热门诊的接诊量上升,社会经济方面,疫情可能影响旅游业和商业活动,市民出行意愿降低,加之防控投入增加,给公共财政带来负担。
更重要的是,冬季登革热的异常出现暴露了当前防控体系的漏洞,传统上,登革热防控侧重于夏季,冬季措施相对松懈,2024年的疫情提示,气候变化可能使登革热成为全年性威胁,需调整防控策略。

防控策略与建议
针对2024年12月的疫情,广州市政府及相关部门已启动应急响应,包括加强蚊媒监测、开展爱国卫生运动和教育宣传,为有效遏制疫情,还需多管齐下:
-
强化监测与预警:利用大数据和人工智能技术,实时监控蚊媒密度和病例趋势,建立早期预警系统,通过无人机巡查积水点,或与气象部门合作预测高风险区域。
-
环境治理与社区参与:彻底清除孳生地是关键,政府应加大老旧城区整治力度,组织社区志愿者定期巡查,并鼓励居民“翻盆倒罐”,通过社交媒体和线下活动提升公众意识,使防控成为日常习惯。

-
医疗资源准备:确保医疗机构有充足的诊断试剂、药物和床位,培训医护人员快速识别和处理登革热病例,避免重症发生。
-
跨部门协作与科研支持:卫生、环保、交通等部门需协同作战,加强入境检疫,减少输入风险,科研机构应加速疫苗和新型灭蚊技术的研发,以应对未来挑战。
广州2024年12月的登革热疫情是一次警示:在全球化与气候变化的背景下,传染病防控需与时俱进,通过科学策略和全民参与,广州有望克服当前挑战,构建更 resilient 的公共卫生体系,公众也应保持警惕,做好个人防护,共同守护健康广州。
(字数:约850字)
